
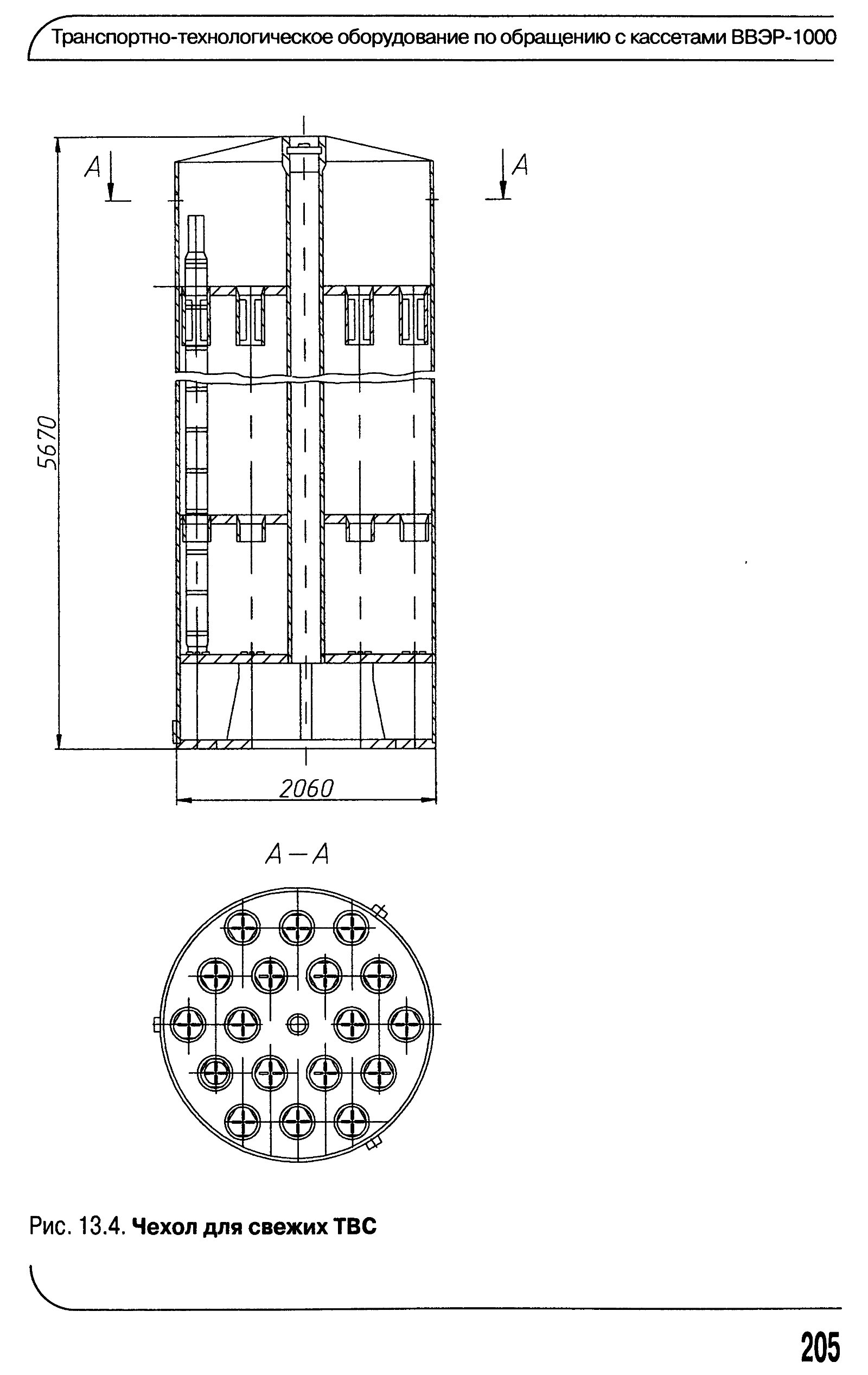
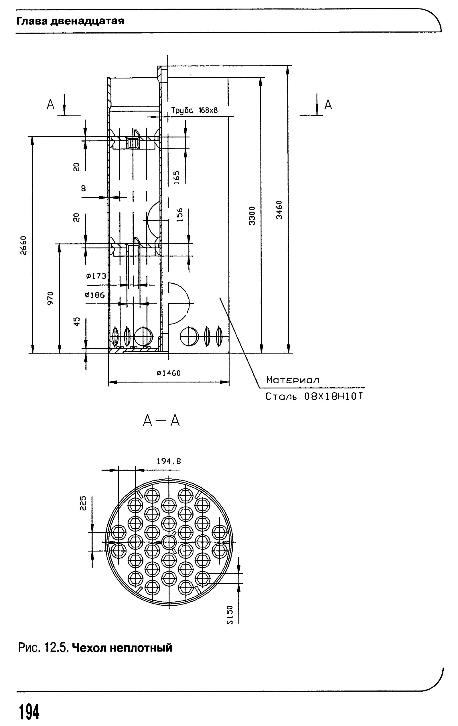
Шмелев В. Д. и др. Активные зоны ВВЭР для атомных электростанций / В. Д. Шмелев, Ю. Г. Драгунов, В. П. Денисов, И. Н. Васильченко; ФГУП ОКБ «Гидропресс». — М. : [Гидропресс] : [Академкнига], 2004. — 220 с. : ил., табл. — (Создание реакторных установок ВВЭР для АЭС). — Библиогр.: с. 214—216 (22 назв.).
https://elib.biblioatom.ru/text/shmelev_aktivnye-zony-vver-dlya-aes_2004/