
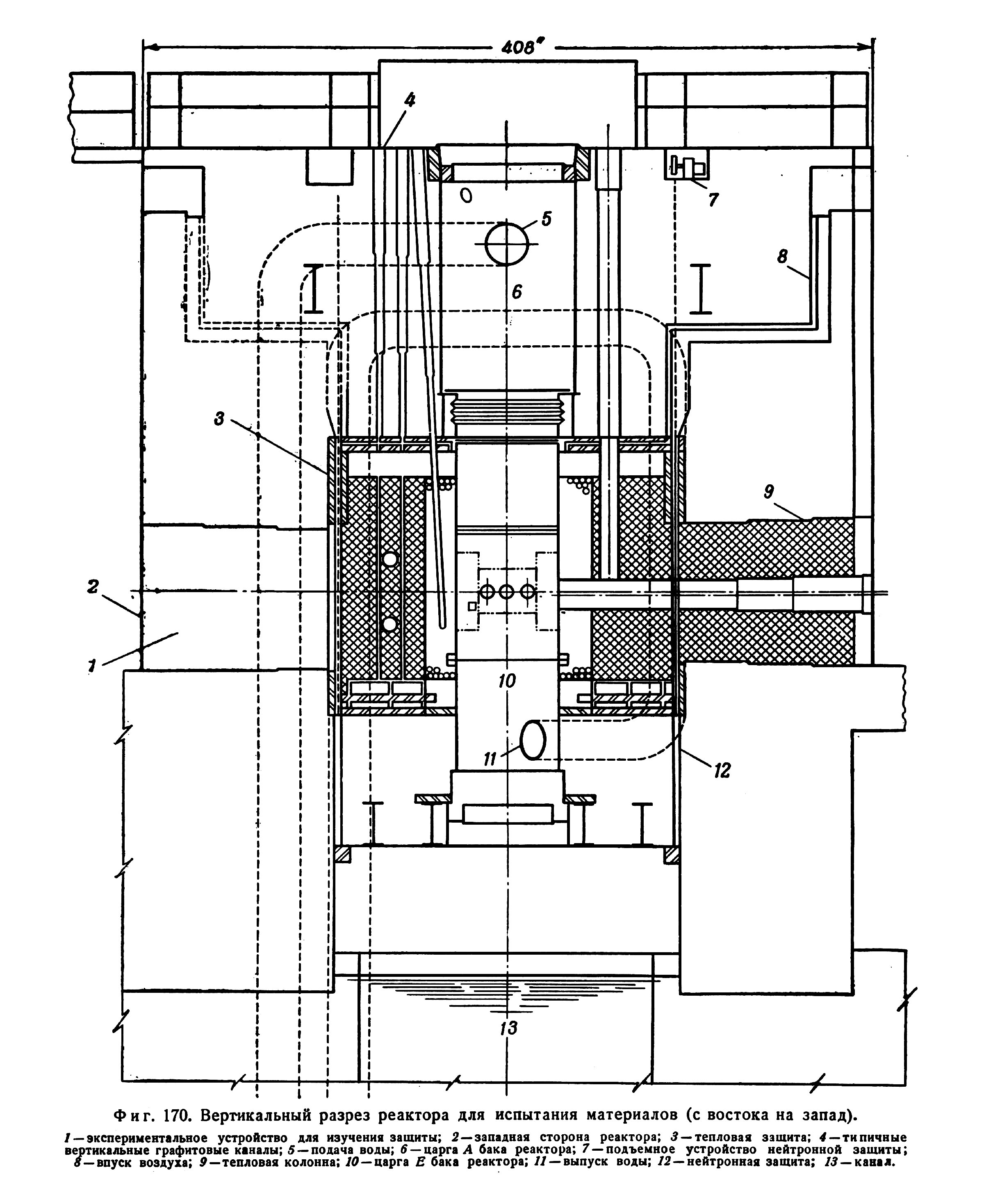
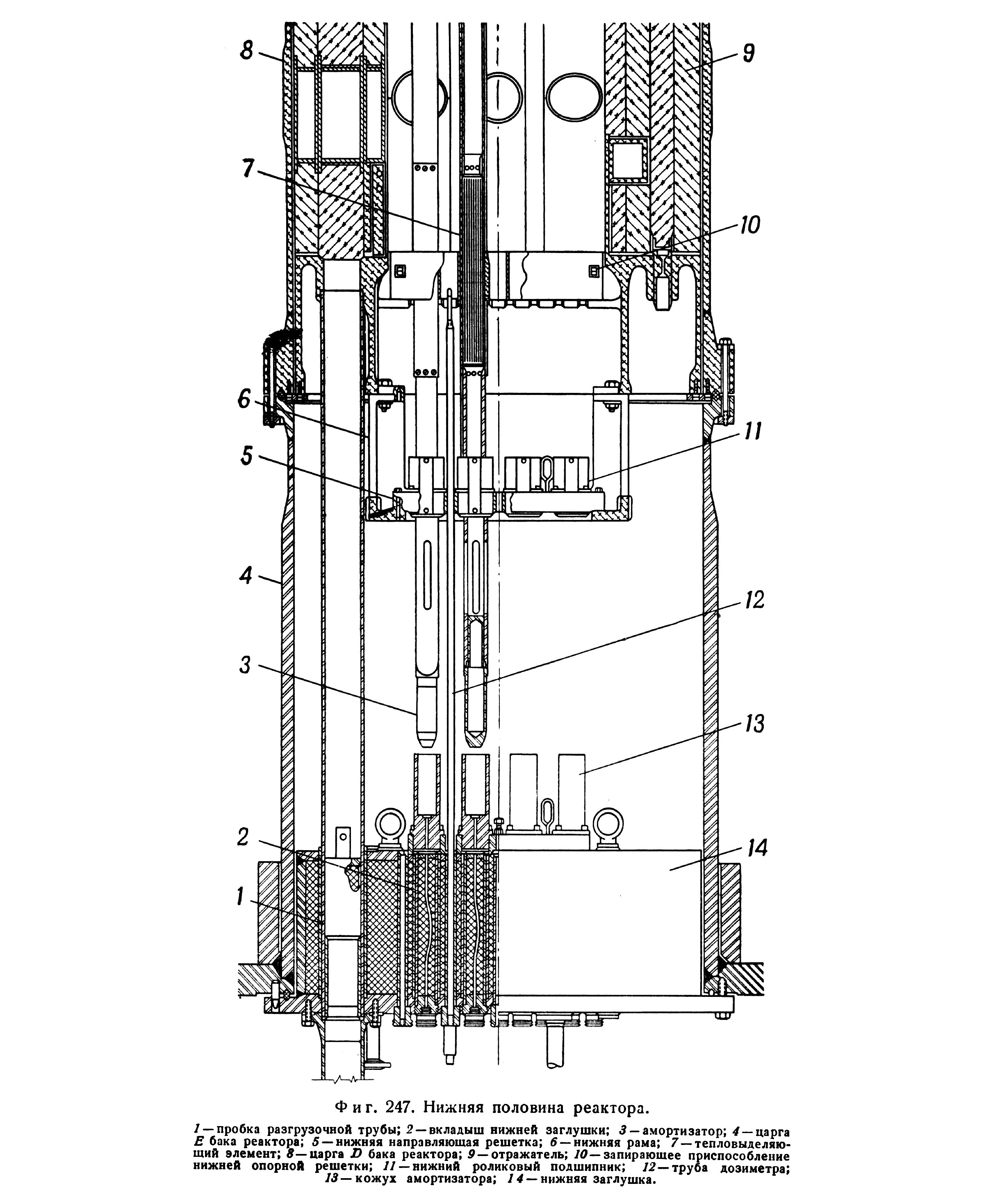
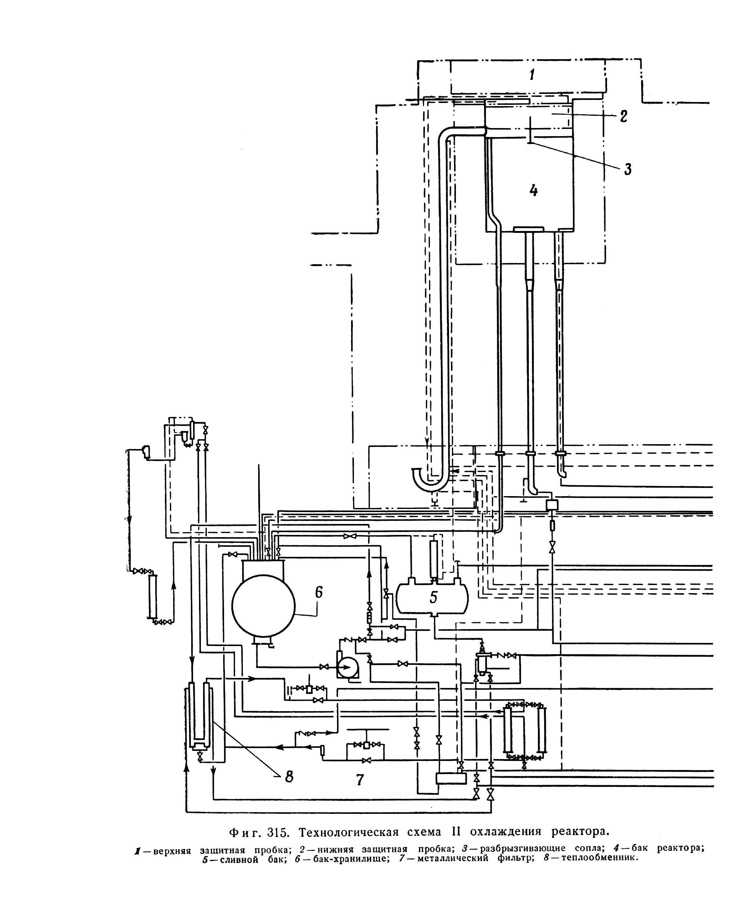
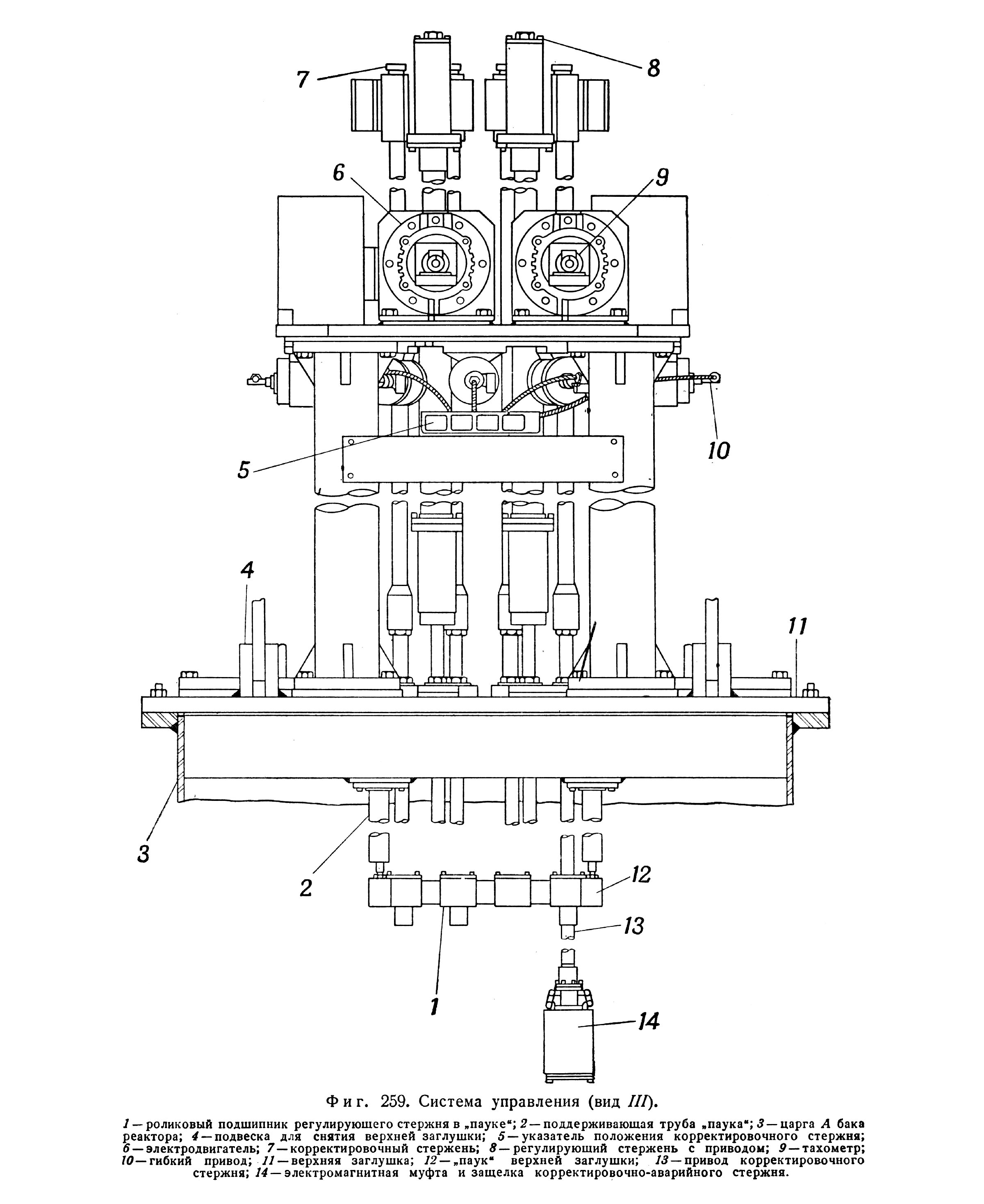
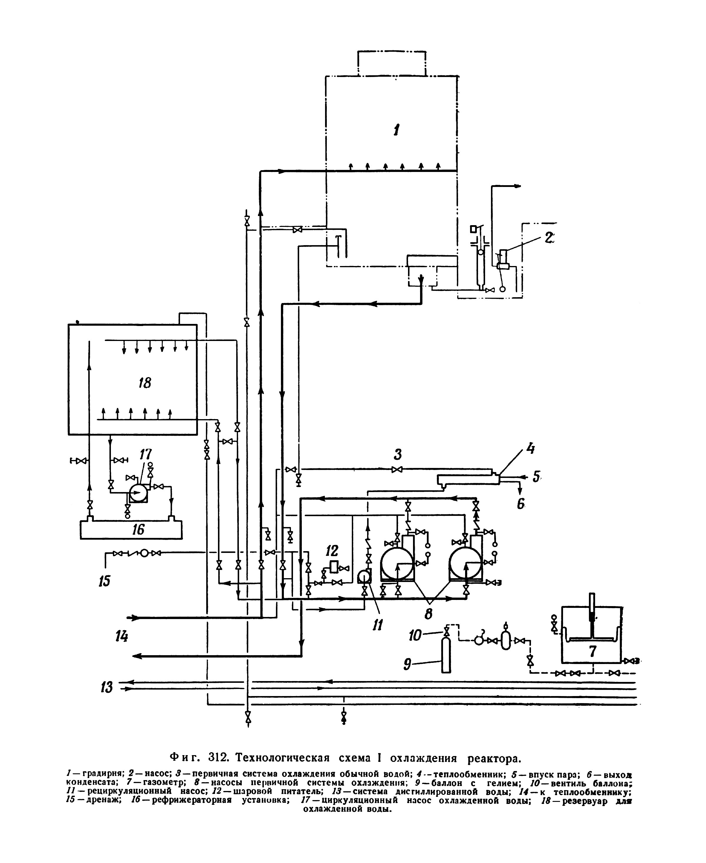
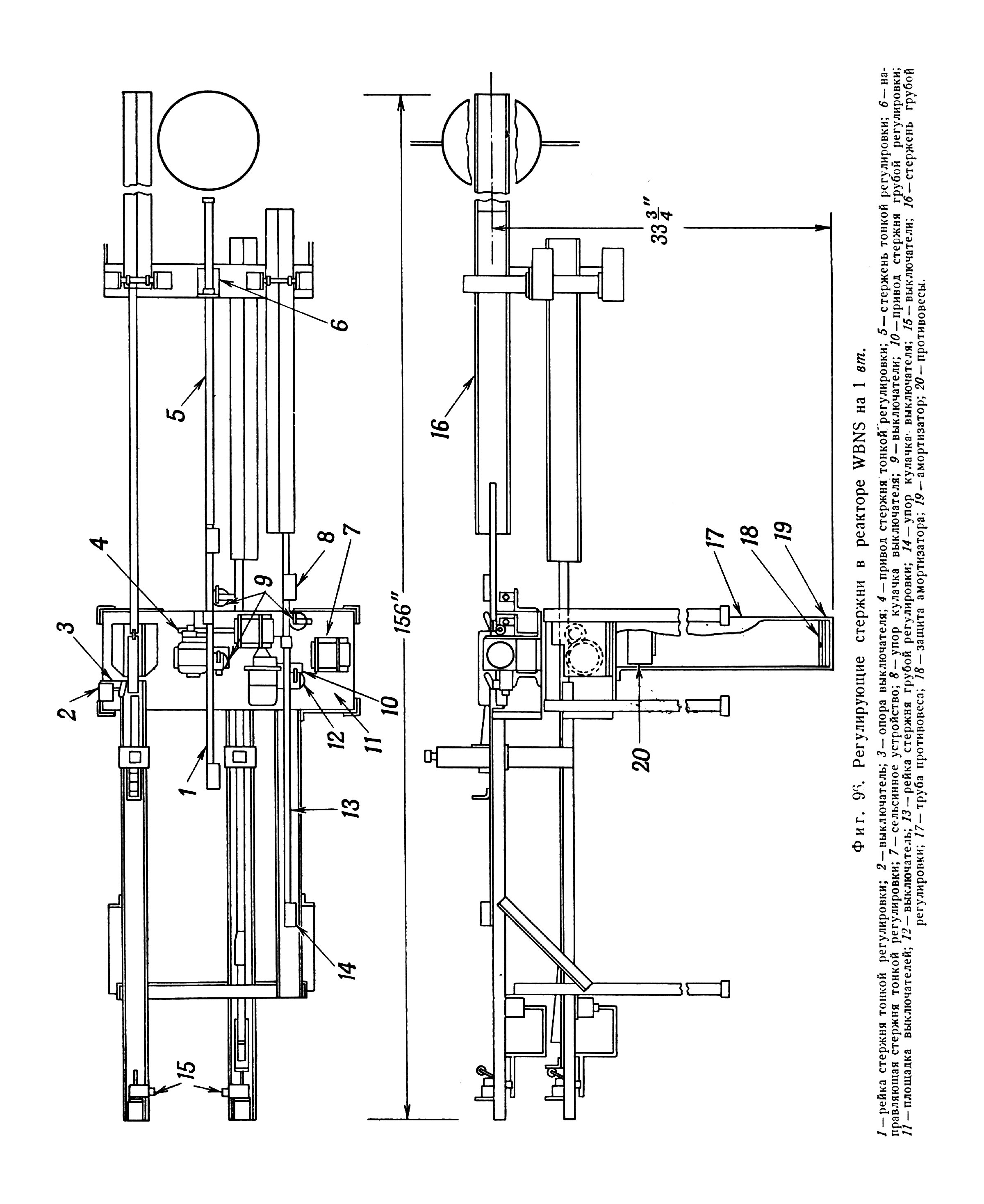
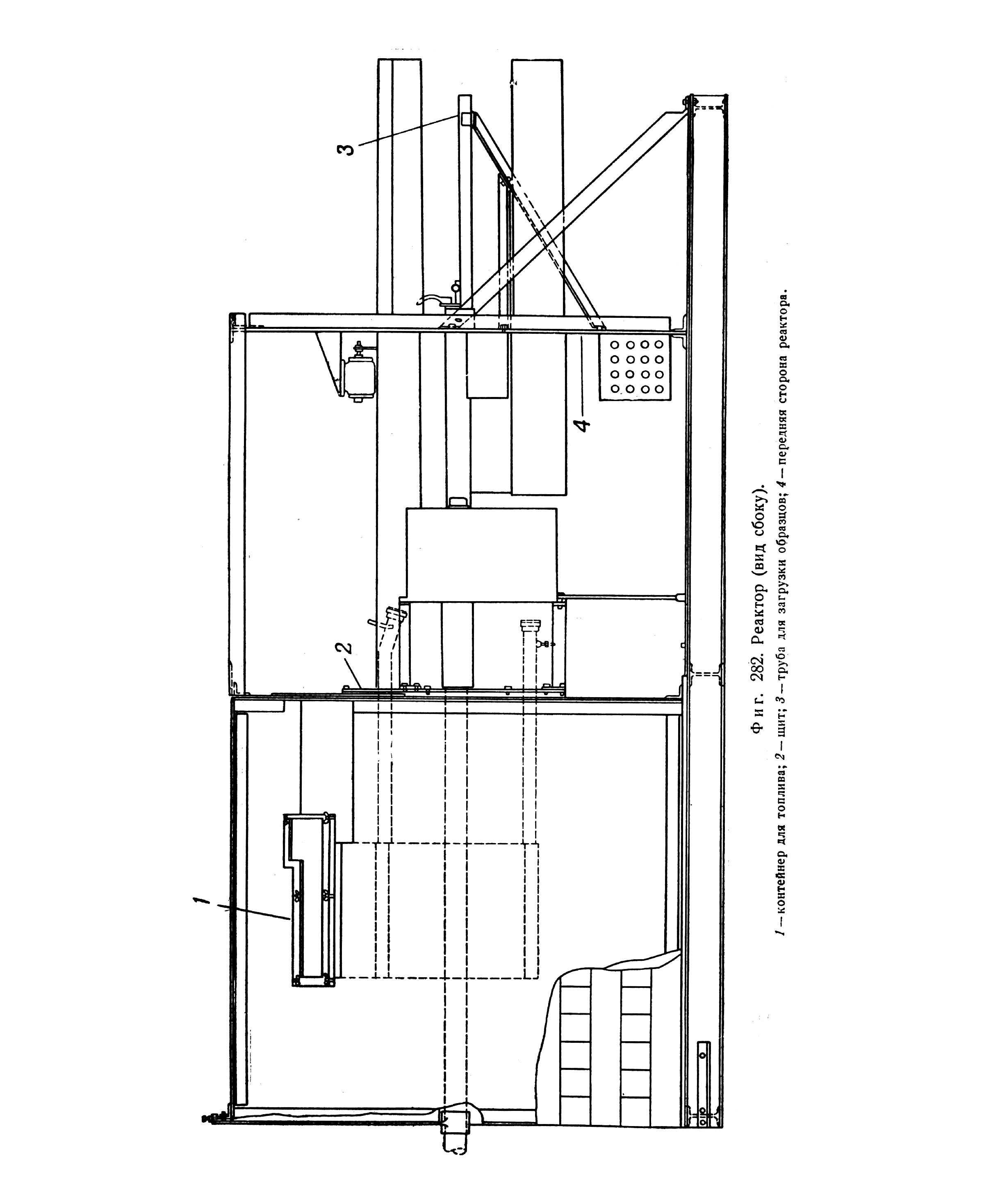
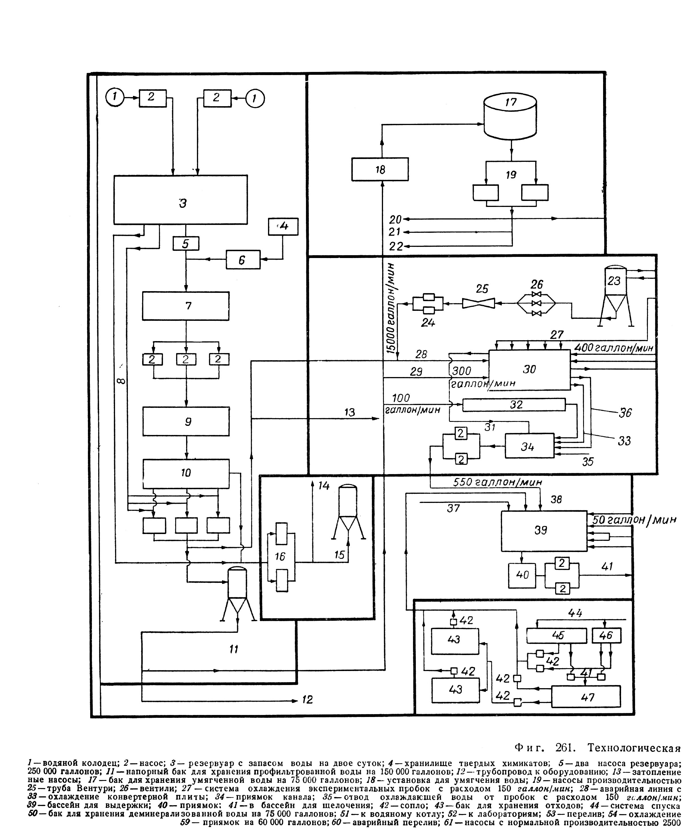
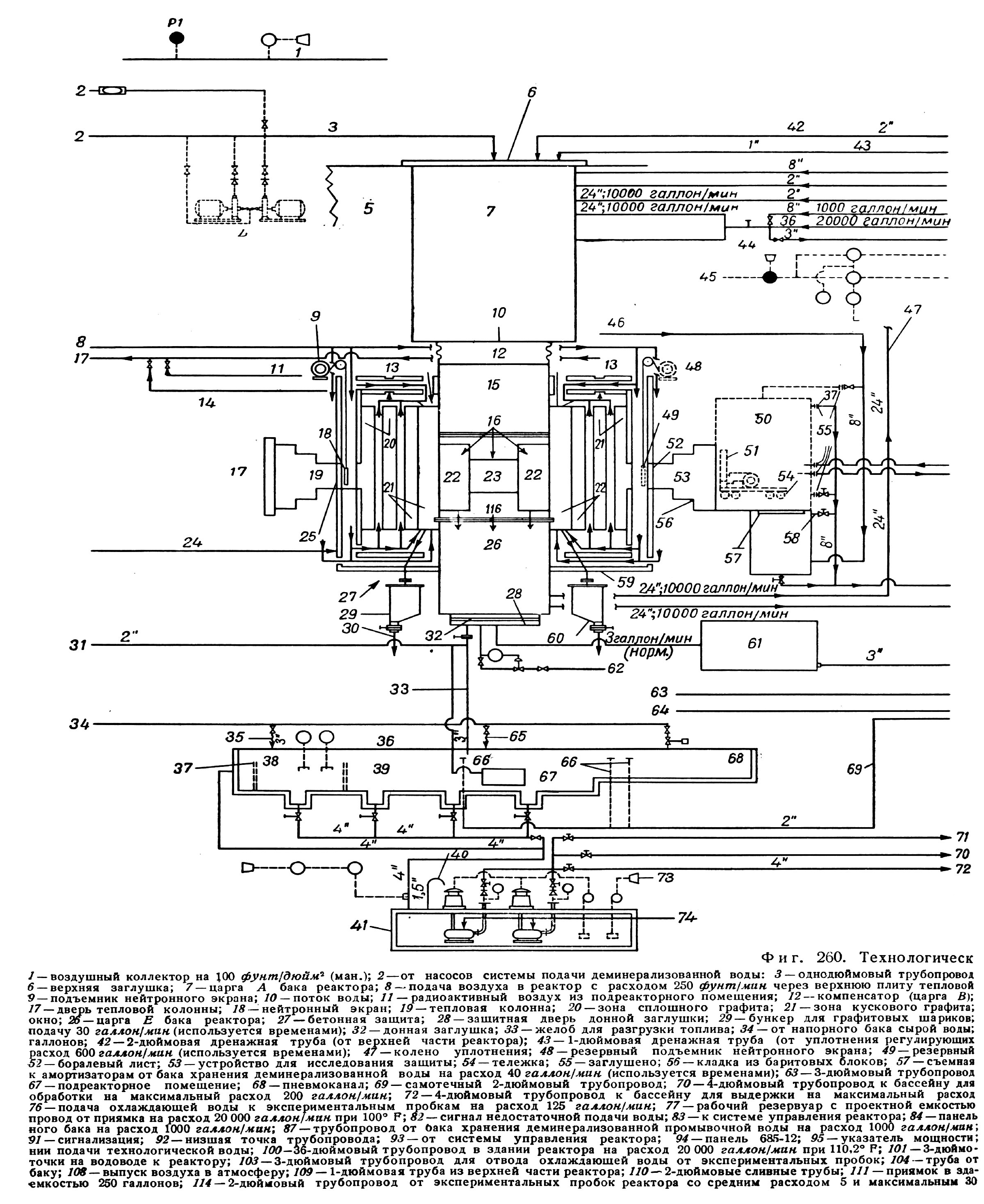
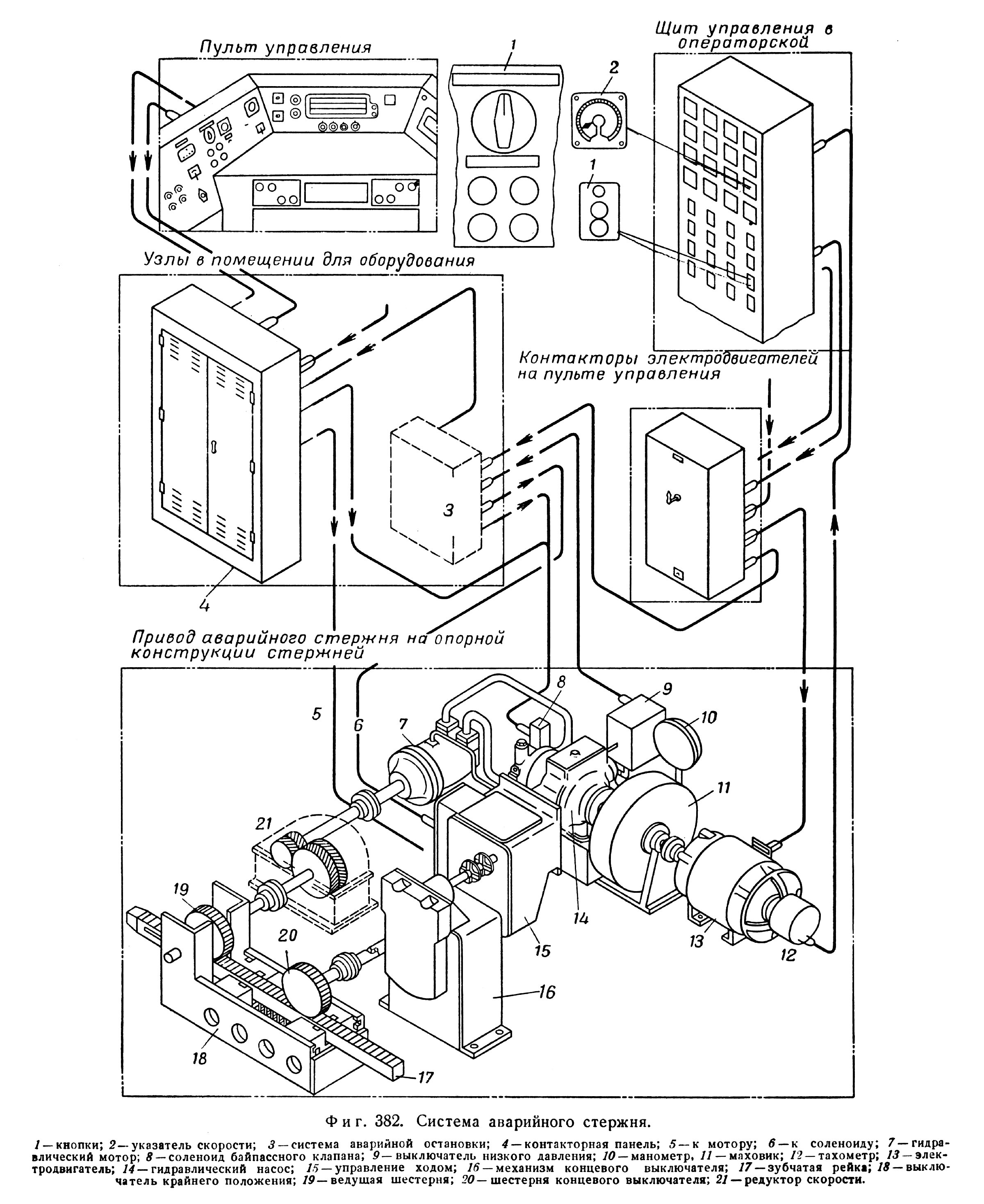
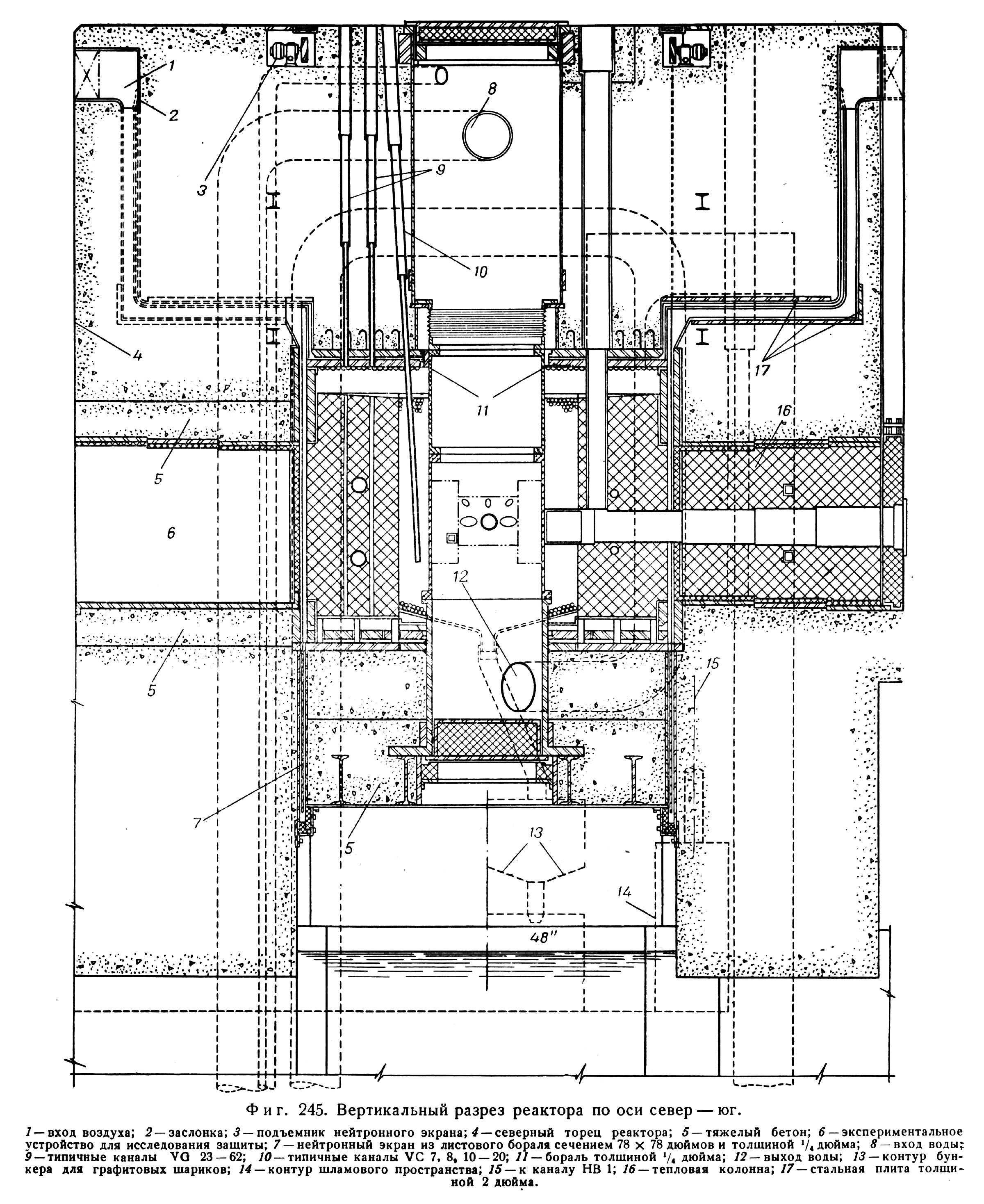
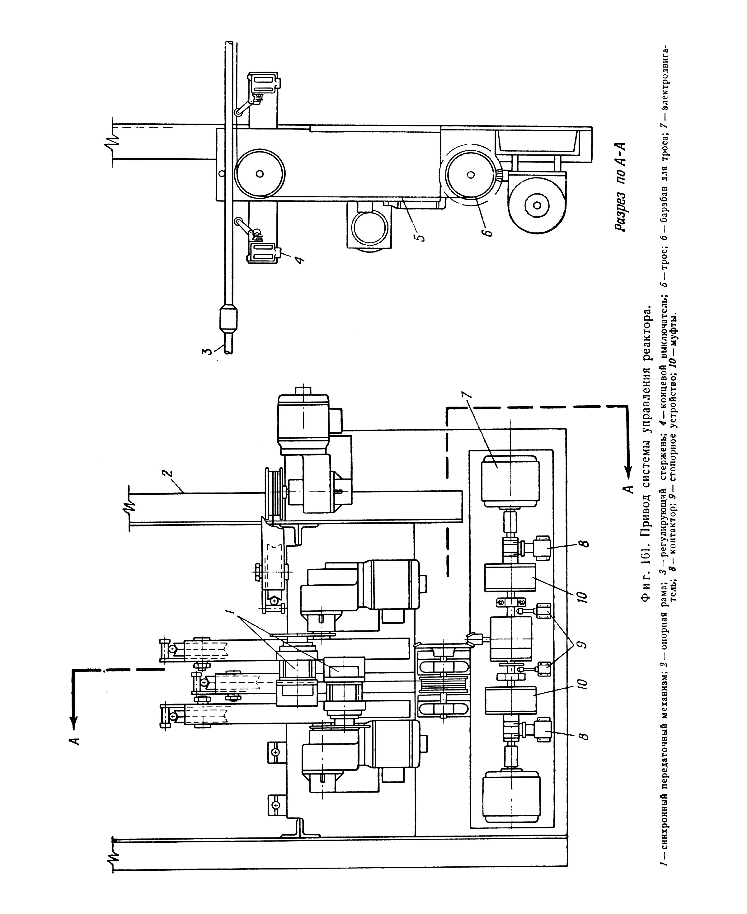
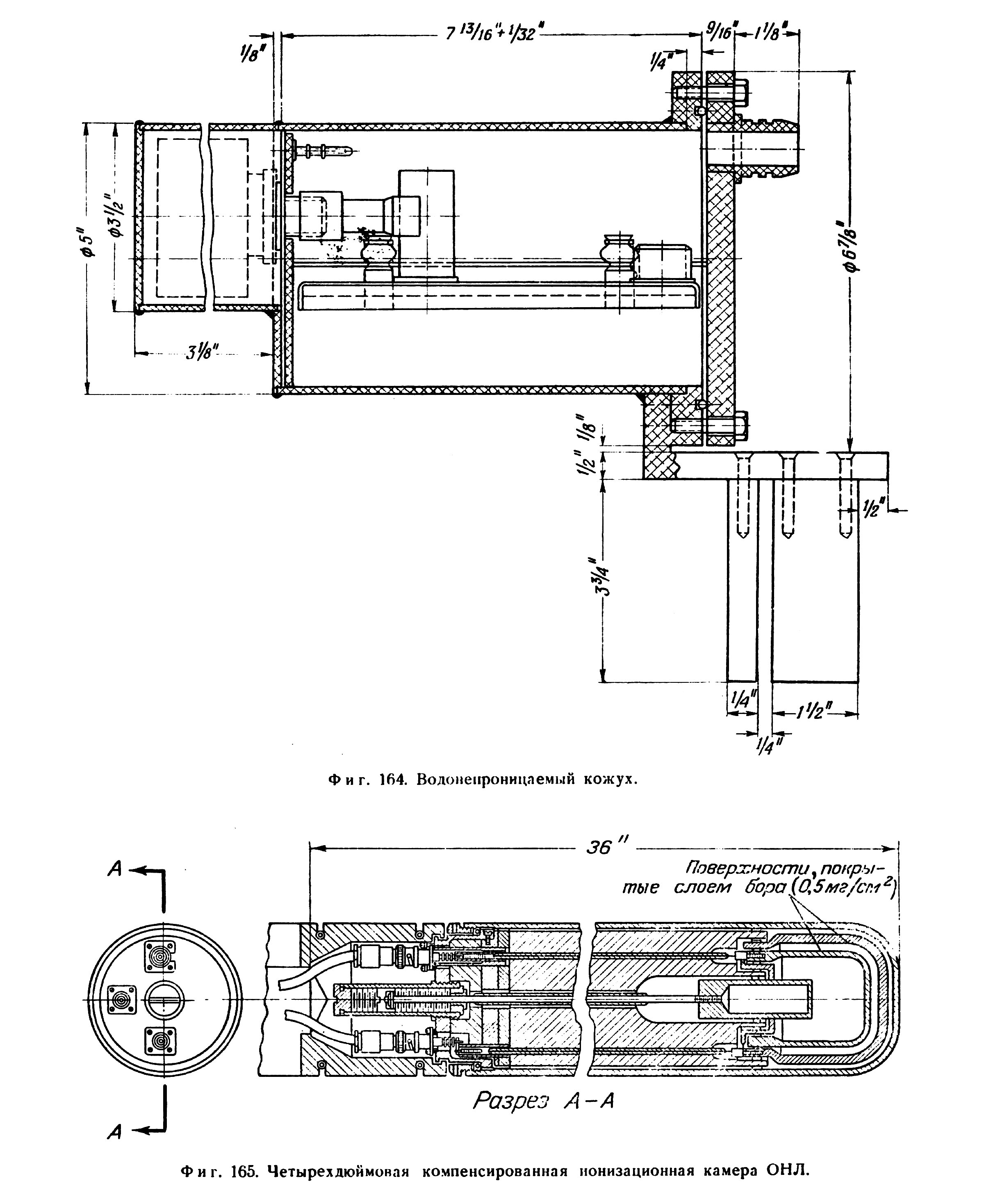
Ядерные реакторы для исследовательских целей : Пер. с англ. — М. : Изд-во иностр. лит., 1956. — 458 с. : ил. — (Материалы Комиссии по атомной энергии США)
https://elib.biblioatom.ru/text/yadernye-reaktory-dlya-issledovatelskih-tseley_1956/

Ядерные реакторы для исследовательских целей : Пер. с англ. — М. : Изд-во иностр. лит., 1956. — 458 с. : ил. — (Материалы Комиссии по атомной энергии США)