
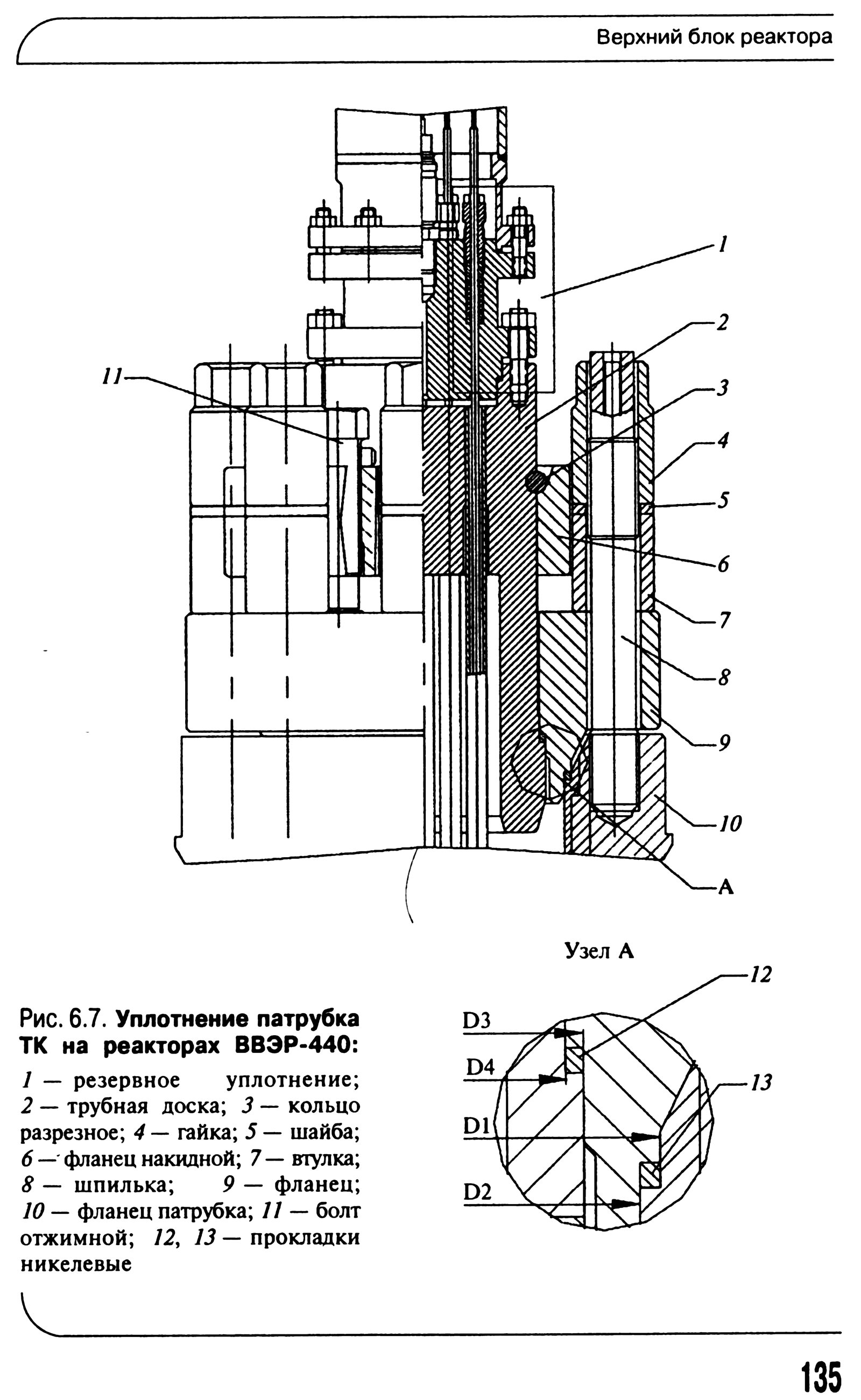
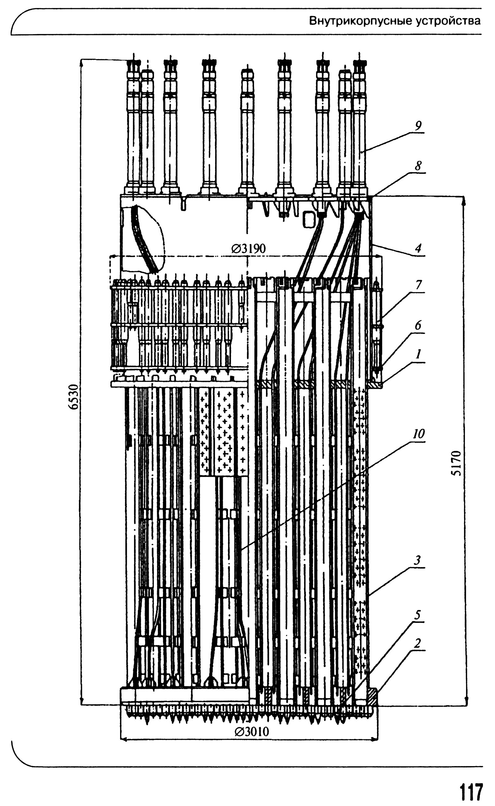
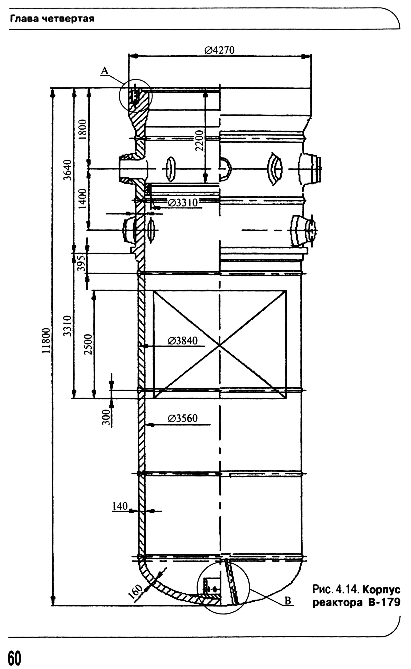
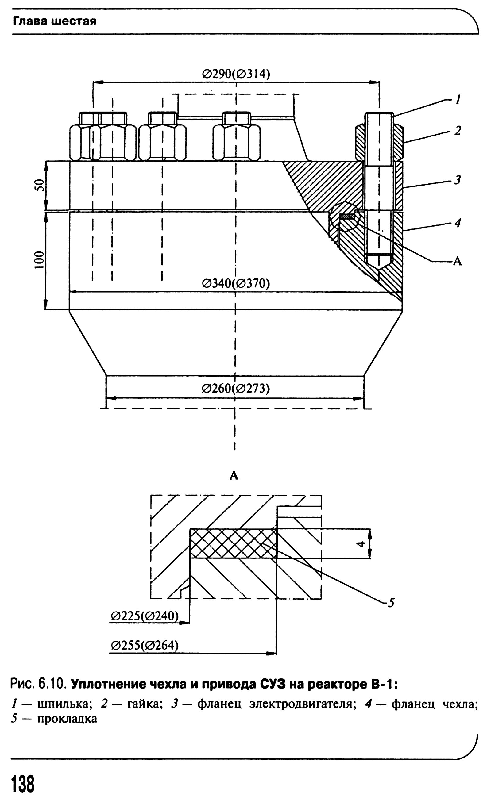
Бессалов Г. Г. и др. Реакторы ВВЭР для АЭС средней мощности / Бессалов Г. Г., Денисов В. П., Мельников Н. Ф., Драгунов Ю. Г. ; ФГУП ОКБ «Гидропргресс». — М. : [Гидропресс] : [Академкнига], 2004. — 207,[ 1] с. : ил. — (Создание реакторных установок ВВЭР для АЭС). — Библиогр.: с. 206.
https://elib.biblioatom.ru/text/bessalov_reaktory-vver-sredney-moschnosti_2004/